


M 系列是大规模使用的薄膜元器件。这些元器件具有特别小的尺寸,长期稳定性很好,宽温度范围内精度很高。用于汽车工业、白色家电,HVAC,食品加工业、医疗行业。
标称电阻 R0:100 欧@0℃
执行标准:DIN EN60751 A 级
DIN EN60751 B 级







产品编号: LGPT-M222
产品名称:薄膜铂电阻
规 格:M222
产品备注:
产品类别: 传感器芯片专区
产品说明:M 系列是大规模使用的薄膜元器件。这些元器件具有特别小的尺寸,长期稳定性很好,宽温度范围内精度很高。用于汽车工业、白色家电,HVAC,食品加工业、医疗行业。
标称电阻 R0:100 欧@0℃
执行标准:DIN EN60751 A 级
DIN EN60751 B 级(1) 产品特点:
薄膜铂电阻是用真空沉积的薄膜技术把金属铂溅射在陶瓷基片上,膜厚控制在2μm以内,用玻璃烧结料把Ni材料或Pd材料引线固定,经激光调阻制成薄膜元件,该元件是生产铂电阻温度传感器的核心器件!是温度传感器中精度、线性、稳定性最好的一种元件,它具有众多优点,具有宽泛的测温范围和强抗震动能力,是工业生产设备装备以及生产过程中不可缺少的一种测温元件。温度系数:TCR=3850ppm/K
温度范围:B 级:-70℃-500℃
A 级:-50℃-300℃
电线:镀铂镍线
规范:DIN EN 60751(符合 IEC751)
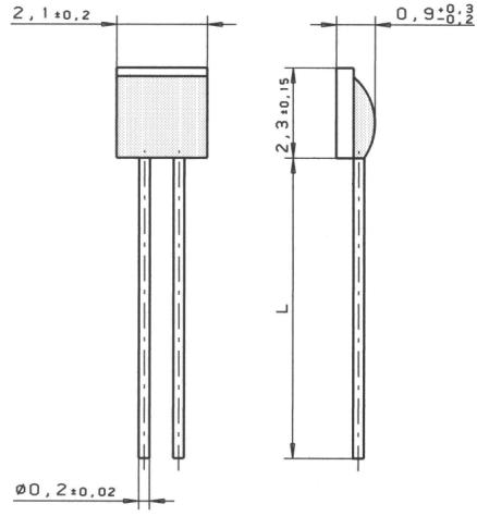
尺寸:2.3mm×2.1mm×0.9mm(长×宽×高),线长 10mm
长期稳定性:R0 漂移小于等于 0.04%(500℃,1000 小时后)
抗振动等级:至少 40g 加速度(10-2000Hz)
绝缘电阻:>100MΩ,20℃时>2MΩ,500℃时
抗冲击等级:至少 100g 加速度(波动 8.5mS 后)
自热系数:0.4K/mW (0℃时)
响应时间:水@0.4m/s t0.5=0.05S t0.9=0.15S
空气@2m/s t0.5=3.0S t0.9=10.0S
环境条件: 未保护时只能用于干燥环境
包装:大包装 1000 件
测量电流:PT100 0.3-最大 1.0mA
PT1000 0.1bis0.3mA可互换性全球通用 (±0.1°C)
适合在 -112°F ~ 302°F (–80°C ~ 150°C)的范围内使用
高灵敏度,在77°F (25°C)下大于–4%/°C
适用于温度测量,控制和补偿
在可互换范围内有高可靠性和稳定性
可提供最普及的阻力(R)vs温度(T)曲线
薄膜铂电阻根据0℃时输出的阻值不同,又分为不同的类型,例如PT20,PT50,PT100,PT200,PT500,PT1000等等,其中PT100、PT1000最为常用,PT100的含义是指在0℃时,该电阻输出的阻值是100Ω,其他型号以此类推,线性度是一样的。
薄膜铂电阻根据测量温度范围不同,又分低温铂电阻,中温铂电阻,高温铂电阻。
薄膜铂电阻根据不同客户的要求,尺寸也不尽相同,常规尺寸2MM*2MM左右,我司也有超小型的,最小尺寸0.8MM*2MM。
薄膜铂电阻的精度说明:
等级
精度
1/10B
±0.03℃
1/3B
±0.10℃
A
±0.15℃
B
±0.30℃
2B
±0.60℃
(2)应用范围:
电子体温计、医疗设备、医疗仪器 工业类温度传感器
家电控制板
航天航空
空气应用
温度仪表、温度记录仪、电子发热玩具
移动电源测温、铝电池保护板
(3)结构尺:
(4)规格说明:
(5)注意事项:
焊接方式:采用金属本体与本体直接焊接的方式进行焊接,请勿用锡焊焊接以免产生虚焊,焊接时间控制在3.5秒以内,铂电阻传感器勿在空气中测试,空气中温度差异较大,测量很不精准,往往会产生1-2℃以上在偏差,必须使用高精度恒温油槽进行测量,被测传感器放入恒温油槽后,必须恒温槽温度稳定后方可。